

ZCA真空电磁阀
![]() |
![]() |
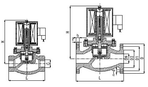
| ZCA真空电磁阀结构尺寸图 | ZCA真空电磁阀 |
| 工作介质 | 空气等非腐蚀性气体 | |||||
| 介质温度 ℃ | ≤60 | |||||
| 工作压力 MPa | 1.0 | |||||
| 工作压差 MPa | -0.1~0 | |||||
| 电源电压 | AC220V DC24V 其余规格可作特殊订货 | |||||
| 使用寿命 | JB/T7352-94规定 | |||||
| 额定流量系数 KV | 3.8 | 7.4 | 10.3 | 18.8 | 25.7 | 41 |
| 泄漏量 ml/min | 按JB/T7352-94.F规定 | |||||
| 公称通径 mm | 15 | 20 | 25 | 32 | 40 | 50 |
| 功 耗(VA) | 50 | 90 | ||||

| 公称通径DN | 内螺纹连接 | 法兰连接 | |||||||||
| 外形尺寸 | 内螺纹 | 外形尺寸 | 法兰连接 | ||||||||
| H | L | G | H | L | D | D1 | D2 | b | f | n-d | |
| 15 | 153 | 92 | ½ | 153 | 130 | 95 | 65 | 46 | 14 | 2 | 4-¢14 |
| 20 | 153 | 92 | 3/4 | 153 | 150 | 105 | 75 | 56 | 16 | 2 | 4-¢14 |
| 25 | 153 | 110 | 1 | 153 | 160 | 115 | 85 | 65 | 16 | 3 | 4-¢14 |
| 32 | 176 | 120 | 1¼ | 176 | 180 | 140 | 100 | 76 | 18 | 3 | 4-¢18 |
| 40 | 176 | 140 | 1½ | 176 | 200 | 150 | 110 | 84 | 18 | 3 | 4-¢18 |
| 50 | 192 | 162 | 2 | 192 | 230 | 165 | 125 | 99 | 20 | 3 | 4-¢18 |