您当前的位置: 主页 > 新闻中心 > 行业新闻 >

    排污阀工作原理

    来源:http://www.hsfamen.com    2016-01-08 22:01:56

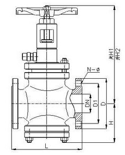
    一、阀套式排污阀工作原理:
    节流截止放空阀 阀套式排污阀结构图
    1、全开状态:阀瓣处于全开启状态时,整个阀门处于全放空状态,流体在冷门中的阻力较小,缩短了放空时间,提高了呼吸阀的放空效果。
    2、常闭状态:阀瓣硬密封付压在阀座凸台上,形成一道硬质密封,同时嵌在阀瓣上的软质密封与阀座端面紧压,形成第二道密封,双质密封结构保证了阀门的零泄漏,再由于阀瓣开设了平衡孔,使阀门在关闭、开启时,阀瓣受到较小的作用力,也使阀门开启、关闭时具有较小的力矩。
    3、缓压状态:阀瓣底端离开阀座密封面时,由于阀瓣底端面接近笼形套开糟处底边缘,此时阀瓣与笼形套内径形成一道密封。而没有直接放空泄压,从而达到缓和作用。
    4、节流状态:阀瓣底羰离开阀座,进一步开启,小节流头处形成一级节流,高速流体经缓压节流后直接流向小阀瓣,由于阀套窗口边缘是最终节流面,高压介质直接冲刷节流通道时,阀瓣底端由于介质向改变产生涡流,缓减了介质地阀瓣的直接冲刷,从而阀座密封也避开了介质的直接冲刷,同时由于阀瓣密封面是锥形的,可以吹扫阀座密封面上的污物及杂质,保护密封面,从而延长阀门的使用寿命。
    二、快速排污阀工作原理:
    排污阀 快速排污阀结构图
       快速排污阀不仅结构简单、密封性好,而且体积小、重量轻、材料耗用少、安装尺寸小,特别是驱动力矩小,操作简便,易实现快速启闭。此外,快速排污阀可根据介质性质,使用多种材质,满足各种介质的工况要求!
    1、阀门开启(排污过程)
     1.1逆时针转动手轮阀杆带动阀芯逐渐上移,密封面脱开,阀芯上的导流座逐渐移出阀座内孔,形成窄缝间隙,介质通过阀座上的对称节流孔进入阀座内部,少量介质可通过窄缝流出,逐渐降低系统压力。
     1.2继续逆时针转动手轮,阀芯向上运动,导流座上的节流孔移出阀座内腔,较多的介质通过导流座和阀套节流后顺利排出。
     1.3继续逆时针转动手轮,阀芯向上移至全开位置,此时,介质压力大大降低,大量杂质可直接从阀套节流孔处排出,并在倒置的密封座处形成涡流,不断清洁密封面,防止杂质粘附在密封面上。
    2、阀门关闭过程:
     2.1顺时针转动阀门,阀杆带动阀芯下移,此时排污已结束,系统压力较低,阀套上的节流孔面积逐渐减小,导向套靠近阀座,并改变介质流向,介质经节流后以一定速度通过阀芯和阀做密封面,逐渐加强对密封面的清洁力度。
     2.2继续转动手轮,阀芯上的导流座进入阀座内孔,形成窄缝节流,由于排污接近结束,介质中杂质已经较少,导向套和阀座间的窄缝阻止了残存的微小杂质流入密封面,介质通过窄缝快速流出,彻底清扫密封面,保证密封副接触时达到零泄漏。
     2.3继续转动手轮,阀芯和密封座接触。实现密封。
    三、隔膜式池底排污阀工作原理:
    JM742X隔膜式池底排泥阀
    隔膜式池底排污阀结构图
       隔膜式池底排污阀有阀体,上下隔膜腔、膜片、阀杆组成。上下隔膜腔作为液体工具,液体作为动力,膜片、阀杆作为开关。开启只需一分钟打开阀板。此阀必须利用手动换方阀或电磁阀可远距离控制排泥阀开关。隔膜式池底排污阀密封性强、开关性能好,检修方便,使用寿命可达五年以上。
    四、截止型排污阀工作原理:
    截止型排污阀 截止型排污阀结构图
       P45F/H截止型排污阀主要由阀体、阀瓣、手柄、阀盖、阀杆、手动等零件组成。阀体采用WCB直通式,阀体与中部法兰成45度角。阀盖与支架合为一体内装有弹簧施压填料压盖,起到防止阀杆填料处出现泄漏。
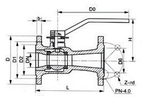
     五、球阀式排污阀工作原理:
    球阀式排污阀 Q41MF球阀式排污阀结构图
      球阀式排污阀的球体、密封圈采用了特殊的加工工艺和最新密封材料,使球体表面粗糙度和圆度达到标准要求,从而提高了密封性能和使用寿命、耐高温的能力。顺时板动手柄带动阀杆驱动球体旋转,使介质顺利通过。
上一篇:管道阻火器的重要地位             下一篇:闸阀的几种闸板介绍

  •    
    展开