首页
走进沪山
产品中心
新闻中心
营销市场
案例展示
代理商
服务中心
联系我们
您当前的位置:
首页
>>
产品中心
>>
液压阀
闸阀
球阀
蝶阀
减压阀
调节阀
电磁阀
隔膜阀
疏水阀
平衡阀
旋塞阀
截止阀
排泥阀
切断阀
针型阀
过滤器
阻火器
呼吸阀
排气阀
安全阀
止回阀
氧气阀
液压阀
低温阀
真空阀
放料阀
水力控制阀
产品名称:
YSS-6型双向液压锁
产品型号:
YSS-6型
产品口径:
DN6
产品压力:
32Mpa
产品材质:
碳钢
销售电话:
021-31007323
图文传真:
021-33321522
YSS-6型双向液压锁
概述:
沪山阀门制造(上海)有限公司是国内著名YSS-6型双向液压锁制造商,也是国内大型液压阀生产商之一。
产品介绍
一、YSS-6型双向液压锁技术参数
:
公称压力
32Mpa
公称通径
6mm
额定流量
25L/min
适用介质
液压油
二、
YSS-6型双向液压锁
图形符号:
三、
YSS-6型双向液压锁
产品图片:
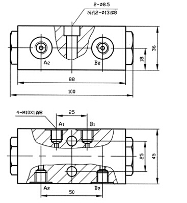
四、YSS-6型双向液压锁外形尺寸:
1、YSS-6A、YSS-6B型:
型 号
H
M
YSS-6A
38
2-M10×1
YSS-6B
50
2-G1/4
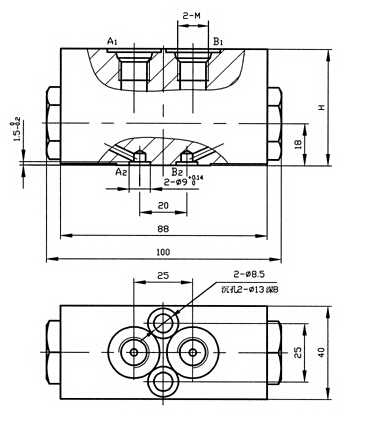
2、HX-ZS06(YSS-6C)型
3、HX-ZS06-L(YSS-6C-L)型
浏览更多产品
上一篇:
YS6型双向液压锁
下一篇:
BQ2201型双向液压锁
【 点击返回 】
展开
收缩
QQ在线客服
客服①
客服②
联系方式
电话:
021-31007323
电话:
18818008975