一、ZRHP电动单座调节阀简介:
ZRHP电动单座调节阀是由阀体、阀座、阀芯阀杆、导向套、阀及密封填料与电动执行器经配合后组成。电动单座调节阀流体通道成S型,压降损失小,流量大,流量特性精度高,可调范围广,是一种高性能的电动单座调节阀,适用于各种不同压力和温度的流体和对泄漏要求高的场合。电动执行机构为电子式一体化结构,内有伺服放大器,输入控制信号(4-20mADC或1-5VDC)及电源即可控制阀门开度,达到对压力、流量、液位、温度等工参数的调节。电动单座调节阀具有动作灵敏、连线简单、流量大、体积小、调节精度高等特点。电动单座调节阀广泛应用于电力、冶金、石油、化工、医药、锅炉、轻工等行业的自动控制系统中。
二、电动单座调节阀实拍图:
三、电动单座调节阀主要技术参数:
公称通径(DN) | 20 | 25 | 32 | 40 | 50 | 65 | 80 | 100 | 125 | 150 | 200 | 250 | 300 |
阀座直径(dn) | 20 | 25 | 32 | 40 | 50 | 65 | 80 | 100 | 125 | 150 | 200 | 250 | 300 |
额定流量系数(KV) | 直线 | 6.9 | 11 | 17.6 | 27.5 | 44 | 69 | 110 | 176 | 275 | 440 | 630 | 875 | 1250 |
等百分 | 6.3 | 10 | 16 | 25 | 40 | 63 | 100 | 160 | 250 | 360 | 570 | 850 | 1180 |
允许压差(MPa) | 3.2 | 3.0 | 2.0 | 1.8 | 1.5 | 1.4 | 1.0 | 0,7 | 0.6 | 0.5 | 0.3 | 0.2 | 0.1 |
公称压力(MPa) | 1.6、2.5、4.0、6.4、10.0 |
额定行程(mm) | 16 | 25 | 40 | 60 | 100 |
阀盖形式 | 标准型(-17~+250℃)、高温型(+250~+450℃)、低温型(-40~-196℃)、波纹管密封型(-40~+350℃) |
压盖形式 | 螺栓压紧式 |
密封填料 | V型聚四氟乙烯填料、V型柔性石墨填料 |
阀芯形式 | 单座柱塞型阀芯 |
流量特性 | 直线性、等百分比 |
配置执行器类别 | 381L系列电动执行器、PSL系列电动执行器 |
执行器参数 | 电源电压:220V/50Hz、输入信号:4-20mA或1-5V·DC、输出信号:4-20mA·DC |
防护等级:相当IP55、隔爆标志:ExdⅡBT4(ExdⅡBT6特殊定制)、手操功能:手柄 |
环境温度:-25~+70℃、环境湿度:≤95% |
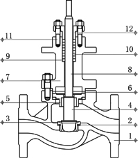
四、电动单座调节阀主要结构图:

| 
|
| 电动单座调节阀(金属硬密封结构) | 电动单座调节阀(四氟软密封结构) |
五、电动单座调节阀主要零件材料:
1 | 阀体 | WCB | 304 | 316 | 316L |
2 | 垫片 | PTFE石墨垫片 | PTFE石墨垫片 | PTFE石墨垫片 | PTFE石墨垫片 |
3 | 阀座 | 304 | 304 | 316 | 316L |
4 | 阀芯 | 304 | 304 | 316 | 316L |
5 | 导向套 | 304 | 304 | 316 | 316L |
6 | 中垫 | PTFE石墨垫片 | PTFE石墨垫片 | PTFE石墨垫片 | PTFE石墨垫片 |
7 | 阀盖 | WCB | 304 | 316 | 316L |
8 | 阀杆 | 304 | 304 | 316 | 316L |
9 | 金属垫 | 304 | 304 | 316 | 316L |
10 | 填料 | PTFE/石墨 | PTFE/石墨 | PTFE/石墨 | PTFE/石墨 |
11 | 螺栓 | 25 | 不锈钢 | 不锈钢 | 不锈钢 |
12 | 填料压盖 | WCB | 304 | 316 | 316L |
六、电动单座调节阀主要性能指标:
项目 | 指标值 |
基本误差% | 配3810L±2.5; 配PSL±1.0 |
回差% | 配381L ±2.0; 配PSL±1.0 |
死区% | 1.0 |
始终点偏差% | 电开 | 始点±2.5 | 终点±2.5 |
始点±2.5 | 终点±2.5 |
电关 | 始点 | ±2.5 |
终点 | ±2.5 |
额定行程偏差% | ≤2.5 |
泄露量L/h | 0.01%×阀额定容量 |
可调范围R | 30:1 |
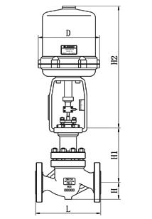
七、电动单座调节阀外形图:

| 
|
| 电动单座调节阀(配3810L执行器) | 电动单座调节阀(配PSL执行器) |
八、电动单座调节阀连接尺寸:
公称通径(DN) | 20 | 25 | 32 | 40 | 50 | 65 | 80 | 100 | 125 | 150 | 200 | 250 |
L | PN16/25 | 181 | 184 | 200 | 222 | 254 | 276 | 298 | 352 | 410 | 451 | 600 | 640 |
PN40 | 194 | 197 | 200 | 235 | 267 | 292 | 317 | 368 | 425 | 473 | 610 | 760 |
PN64 | 206 | 200 | 210 | 251 | 286 | 311 | 337 | 394 | 440 | 508 | 650 | 810 |
H | PN16/25 | 52.5 | 57.5 | 75 | 75 | 85.5 | 92.5 | 100 | 110 | 142.5 | 158 | 170 | 195 |
PN40 | 52.5 | 57.5 | 75 | 75 | 82.5 | 92.5 | 100 | 117.5 | 150 | 167.5 | 187.5 | 205 |
PN64 | 65 | 40 | 85 | 85 | 90 | 102.5 | 107.5 | 125 | 172.5 | 195 | 207.5 | 230 |
H1 | 132 | 132 | 158 | 170 | 179 | 214 | 221 | 234 | 270 | 294 | 331 | 390 |
H2 | 3810L | 373 | 373 | 495 | 495 | 495 | 700 | 700 | 700 | 725 | 725 | 725 | 725 |
PSL | 465 | 465 | 465 | 465 | 465 | 560 | 560 | 560 | 560 | 560 | 788 | 788 |
D | 3810L | 225 | 225 | 225 | 225 | 225 | 257 | 257 | 257 | 310 | 310 | 310 | 310 |
PSL | 177 | 177 | 177 | 177 | 177 | 182 | 182 | 182 | 182 | 182 | 218 | 218 |