

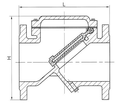
H44X(SFCV)型橡胶瓣止回阀介绍
![]() |
![]() |
| 零件名称 | 阀 体 | 阀 盖 | 阀 瓣 |
| 材料 | 铸 铁 | 铸 铁 | 钢材+强化尼龙布 |
| 型 号 | 公称压力PN(MPa) | 密封试验压力(MPa) | 壳体试验压力(MPa) | 最高工作压力(MPa) | 介质保温 |
| H44X-10 | 1.0 | 1.1 | 1.5 | 1.0 | 0-80℃ |
| H44X-16 | 1.6 | 1.76 | 2.4 | 1.6 |
| 型 号 | DN | L | D | D1 | dn | n |
| H44X-10 16 | 50 | 203 | 165 | 125 | 17.5 | 4 |
| 65 | 216 | 185 | 145 | 17.5 | 4 | |
| 80 | 241 | 200 | 160 | 17.5 | 8 | |
| 100 | 292 | 220 | 180 | 17.5 | 8 | |
| 150 | 356 | 285 | 240 | 22 | 8 | |
| 200 | 495 | 240 | 295 | 22 | 8 | |
| 250 | 622 | 395 | 350 | 22 | 12 | |
| 300 | 698 | 445 | 400 | 22 | 12 | |
| 350 | 787 | 505 | 460 | 22 | 16 | |
| 400 | 914 | 565 | 515 | 22 | 16 | |
| 450 | 978 | 615 | 565 | 26 | 20 | |
| 500 | 978 | 670 | 620 | 26 | 20 | |
| 600 | 1295 | 780 | 725 | 30 | 20 |